一、ISW型臥式管道離心泵產品概述:
ISW型臥式離心泵根據IS型離心泵與立式泵的獨特結構組合設計,并嚴格按照國際標準ISO2858和最新的國家管道離心泵標準JB/T53058-93進行設計制造的高效節能產品。ISW型臥式離心泵采用國內先進水力模型優化設計而成。同時根據使用溫度、介質等不同在ISW型基礎上派生出熱水泵、高溫泵、化工泵、油泵等,是目前國家標準定型推廣產品。
二、ISW型臥式管道離心泵產品特點:
??1、運行平穩:泵軸的絕對同心度葉輪優異的動靜平衡,保證平穩運行,絕無振動。
??2、滴水不漏:不同材質的硬質合金密封,保證了不同介質輸送均無泄漏。
??3、噪音低:兩個低噪音軸承下的水泵,運轉平穩,除電機微弱聲響,基本無噪聲。
??4、故障率低:結構簡單合理,關鍵部分采用國際一流品質配套,整機無故障工作時間大大提高。
??5、維修方便:更換密封、軸承、簡易方便。
??6、占地更?。撼隹诳上蜃?、向右、向上三個方向,便于管道布置安裝,節省空間。
??7、ISW臥式清水泵,供輸送清水及物理化學性質類似于清水的其他液體之用,適用于工業和城市供水,高層建筑增壓送水,園林噴灌,消防增壓,遠距離輸送,暖通制冷循環、浴室等冷暖水循環增壓及設備配套,使用溫度T≤80℃。
??8、ISWR臥式熱水泵廣泛適用于:冶金、化工、紡織、造紙、以及賓館飯店等鍋爐熱水增壓循環輸送及城市采暖系統,ISWR型使用溫度T≤120℃。
??9、ISWH臥式化工泵,供輸送不含固體顆粒,具有腐蝕性、粘度類似于水的液體,適用于石油、化工、冶金、電力、造紙、食品制藥和合成纖維等部門,使用溫度為-20℃~+120℃。
? 10、ISWB臥式管道油泵,供輸送汽油、煤油、柴油等油類產品或易燃、晚爆液體,被輸送介質溫度為-20℃~+120℃。
三、ISW型臥式管道離心泵工作條件:
1、吸入壓力≤1.6MPa,或泵系統最高工作壓力 ≤1.6MPa,即泵吸入口壓力+泵揚程≤1.6MPa、泵靜壓試驗壓力為2.5MPa,訂貨時請注明系統工作壓力。泵系統工作壓力大于1.6MPa時應 在訂貨時另行提出,以便在制造時泵的過流部分和聯接部分采用鑄鋼材料。
2、環境溫度<40℃,相對濕度<95%。
3、所輸送介質中固體顆粒體積含量不超過單位體積的0.1%,粒度<0.2mm。
注:如使用介質為帶有細小顆粒,請在訂貨時注明,以便廠家采用耐磨式機械密封。
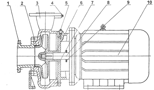
四、ISW型臥式管道離心泵結構圖:

